“一杯好茶、一口软欧包,在奈雪遇见两种美好”
作为媲美喜茶的网红茶饮,奈雪の茶以“茶+软欧包”的创新形式吸引无数年轻人前来打卡。

截止至目前,奈雪の茶已经在华南、华中、华北等地开设超过200家直营门店,并获得数亿元A+轮融资。
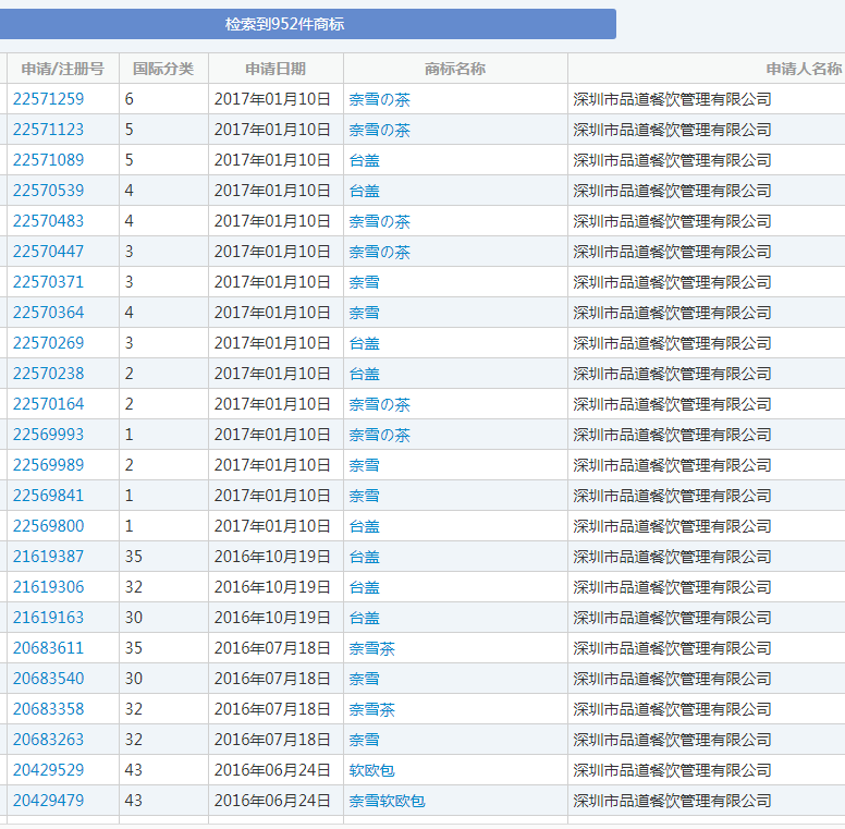
为了进行品牌保护,奈雪还申请了952件商标,囊括“奈雪”、“奈雪の茶”、“奈雪茶”、“奈雪茶 NAYUKI”……

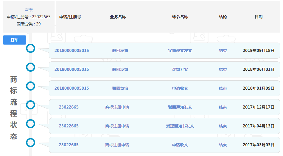
然而有一件商标,奈雪花了2年多的时间都没有申请下来,那就是第23022665号“雪奈 XUENAI”商标。

奈雪所属公司深圳市品道餐饮管理有限公司在2017年3月3日申请第23022665号“雪奈 XUENAI”商标,核准使用在第29类肉、干食用菌、牛奶、果冻等产品上。
该商标在2017年12月被驳回申请。2018年1月,奈雪提交商标驳回复审申请,近期结果出来了,奈雪的诉求再一次被驳回。

奈雪认为,其申请的商标与引证商标一(第12983128号“雪奈 SN”商标)、引证商标二(第17480491号“雪奈儿”商标)、引证商标三(第21150552号“奈雪DE茶”商标)、引证商标四(第21152021号“奈雪茶”)未构成近似。

引证商标一

引证商标二

引证商标三

引证商标四
该已具有突出的显著性,且引证商标三、四处于异议当中,如果不能成功注册,则不能成为申请商标注册的权利障碍。
法院认为,奈雪提供的证据不足以证明申请商标在中国大陆地区经过使用已获得显著特征,引证商标三、四均因商标异议而不予注册,与申请商标已不存在权利冲突。
综上所述,奈雪的商标申请被驳回了。
便捷链接:奈雪の茶花两年多时间仍
本文来源:网络?买卖商标注册授权入驻“天猫”“京东”“拼多多”“抖音头条”“商标百科”
版权说明:上述为转载或编者观点,不代表亿佰倍懂商标意见,不承当任何法律责任
亿佰倍懂商标官方微信
欢迎关注亿佰倍懂
微信号:K58158 热门TAGS
购买上海商标 商标复审 商标撤三答辩 商标驳回复审 国际商标驳回 知名商标转让 白酒商标网 19类商标转让 18类商标转让 17类商标转让 16类商标转让 15类商标转让 14类商标转让 13类商标转让 11类商标转让 12类商标转让 10类商标转让 9类商标转让 8类商标转让 7类商标转让 6类商标转让 5类商标转让 4类商标转让 3类商标转让 2类商标转让 1类商标转让 T恤商标转让 红酒商标转让 黄酒商标转让 水饺商标转让 糖果商标转让 闲置商标转让 商标购买网站 月饼商标转让 购买月饼商标 购买牛奶商标 牛奶商标转让 购买餐饮商标 餐饮商标转让 啤酒商标转让 购买啤酒商标 购买酒类品牌 酒类品牌转让 购买饮料商标 饮料商标转让 食品商标转让 购买食品商标 购买镀膜商标 镀膜商标转让 机油商标转让 购买机油商标 头枕商标转让 购买头枕商标 车衣商标转让 购买车衣商标 购买车贴商标 车贴商标转让 凉垫商标转让 睡袋商标转让 包子商标转让
联系方式
【商标网】
企业QQ:1728988888
手机: 18211558558
官方微信:K58158
广东(总部)北京(分部)深圳(分部)

*截止
,共有人阅读了本文。


40
加工服务